a. Shematski prikaz postupka zavarivanja praškom punjenim žicama sa i bez vanjske zaštite

441.jpg (26691 bytes)

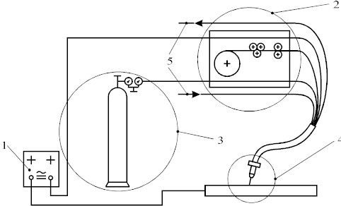
1. izvor struje

2. sustav za dovod žice za zavarivanje

3. sustav za dovod zaštitnog plina

4. gorionik

5. rashladni sustav

442.jpg (36890 bytes)

1. električni luk

2. rastaljeni materijal

3. skrutnuti materijal

4. osnovni materijal

5. kontaktna vodilica

6. zaštitni plin

7. rashladni sustav

8. troska

9. troska

Shema uređaja za MAG postupak zavarivanja

Shematski prikaz postupka zavarivanja praškom punjenim žicama sa i bez vanjske zaštite daje se na sljedećoj slici.

443.jpg (34097 bytes)

Postupak se primjenjuje za zavarivanje nosivih čeličnih konstrukcija od opće konstrukcijskih čelika(debljina od 1,5 mm pa sve do 200 mm), ali i za zavarivanje legiranih i visokolegiranih čelika, za navarivanje i dr. Najviše se primjenjuje kao poluautomatsko zavarivanje, iako je lako moguća primjena automatskog zavarivanja. Može se primjeniti za zavarivanje u svim položajima.

Povratak!!

Povratak na početnu stranicu - povratak na sadržaj!