3. Zavareni spoj gornje polutke i usadnika
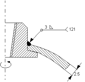
Usadnik se zavaruje na gornju polutku čime se ostvaruje. zavareni spoj prema slici:

Zavaren spoj usadnika i gornje polutke
Osnovni materijal : Č.1216 se zavaruje sa Č.0361
Dodatni materijal : prašak OP 185 +UNIFLUKS D1, žica EPP 2 promjera O 2,5 mm
Postupak zavarivanja : EPP
Položaj zavarivanja : vodorava
n, predmet rotiraPodloga : topiva – čelik
Povratak na početnu stranicu - povratak na sadržaj!