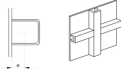
Primjer 4. Šuplje rebro

Šuplja su rebra povoljna radi smanjenja mase zavarene konstrukcije (posebno kod pokternih zavarenih konstrukcija tipa željezničkih i cestovnih vozila, liftova i dr., gdje se smanjuje utrošak energije za transport), ali isto tako i za povećanje momenata otpornosti na savijanje i uvijanje, te povećanje stabilnosti zavarene konstrukcije.
Povratak na početnu stranicu - povratak na sadržaj!