SIVI LIJEV
Sivi lijev (SL) je Fe legura s >2 %C, koja kristalizira mješovito. Primarna kristalizacija i prvi dio sekundarne kristalizacije je stabilan, a drugi dio sekundarne kristalizacije je metastabilan.
Stabilna kristalizacija kod čistih Fe-C legura je moguća pri vrlo sporom hlađenju (v
hl@ Y ). Ako se doda Si ~ 1.5 % ili više kao grafitizator, pospješit će se stabilna kristalizacija.Kemijski sastav SL orijentacijski se kreće u granicama:
2.5 - 4.5 C
1.0 - 4.0 Si
0,3 - 1.0 Mn
0,1 - 1.5 P
< 0.1 S
Mangan - je cementator i nije poželjan. Potreban je, jer ima afinitet prema S i tvori MnS, koji nije štetan za razliku od FeS koji je nepovoljan. MnS je lakši i ispliva u talinu. Sadržaj Mn se određuje odnosom: Mn = 1.7 S+0.3
Fosfor čini odjevak krhkijim, ali se dodaje SL, jer povećava livljivost budući da povećava žitkost taline, pa talina bolje ispunjava kalupe tankostijenih odljevaka. Zato radijatori za centralno grijanje sadrže 0.8 - 1.5 P.
Sumpor se nalazi u obliku MnS i ne treba ga biti više od 0.12 %, jer čini SL tvrdim, krhkim i slabije žitkim, pa smanjuje sposobnost lijevanja.
Mehanička svojstva ovise o kemijskom sastavu i kreću se u granicama:
Rm = 200 - 400 MPa
Re = (0.8 - 0.9)Rm
HB= 100 - 340
A5 < 0.5 %
U odnosu na čelik SL ima slabija mehanička svojstva, ali se koristi jer je jeftiniji. Od dobrih svojstava za SL se navode: antifrikcijska svojstva i prigušenje vibracija.
Zbog izlučenog grafita u SL u obliku listića koji su nemetalni uključci, diskontinuiteti i koncentratori naprezanja u temeljnoj čeličnoj perlitno-feritnoj ili perlitnoj strukturi (matrici) SL, istezljivost A
5 je vrlo mala, što čini SL krhkim i teško zavarljivim uobičajenim postupcima zavarivanja "u hladnom stanju". Boja preloma SL je siva od grafita, koji se nalazi na prelomnoj površini. Bijeli lijev ima sav ugljik vezan u cementit i prelomna površina je bijele boje, a bijeli lijev je krhak i tvrd.
Prikaz strukture sivog lijeva sa izluženim grafitom u obliku listića - shematski prikaz feritno-perlitne strukture matrice
Modificirane vrste lijevova kod kojih se grafit izlučuje u obliku pločica, zvijezdica ili kuglica (cijepljeni, kovkasti ili žilavi - nodularni lijev) imaju bitno bolju istezljivost i do 15 %, što povoljnije utječe na zavarljivost.
Glavna tećkoća pri zavarivanju SL je nepovoljan kemijski sastav i izlučeni grafit, koji pri taljenju i brzom hlađenju pri zavarivanju daju tvrde i krhke strukture. Već iznad 0.25 % C se smatra čelik teže zavarljivim, a SL sadrži 3-4 % C.
Zavarivanje i zavarljivost SL
U daljnjem tekstu se razmatra zavarljivost i zavarivanje klasičnog SL sa izlučenim grafitom u obliku listića. Zavarivanje i navarivanje dijelova se primjenjuje za popravak oštećenih dijelova. U slične svrhe se koristi zavarivanje i navarivanje SL u ljevaonicama SL za popravak defektnih novih odljevaka. Zavarivanje SL se ne primjenjuje u prizvodnji novih dijelova.
Za zavareni spoj ili za navar se postavljaju najčešće slijedeći zahtjevi:
- samo mehanička nosivost,
- samo nepropusnost,
- dobra mogućnost strojne obrade,
- kombinacije gornjih zahtjeva.
Izbor postupka zavarivanja ovisi o postavljenim zahtjevima i mogućnostima realizacije.
Postupci (načini zavarivanja SL)
1. U toplom ili polutoplom stanju. Cijeli se predmet se zagrijava na 580 - 600 (ponekad i do 800) oC. Ako se zagrijava samo dio uz zavareni spoj, tada se predgrijavanje vrši na 300 - 400 oC i naziva se polutoplo zavarivanje. Polutoplo zavarivanje se dopušta za odljevke jednostavne konfiguracije.
2. U hladnom stanju, kada se ne predgrijava predmet.
Zavarivanje SL u toplom i polutoplom stanju.
Najbolji rezultati zavarivanja SL se postižu ako se predmet zagrije na 580 - 600 oC. Zagrijavanje se vrši u nekoj peći, obično provizornoj, koja održava temperaturu predgrijavanja tijekom zavarivanja. Zagrijavanje predmeta na temperaturu predgrijavanja mora biti dovoljno sporo, da se izbjegnu razlike u temperaturama pojedinih mjesta odljevka. Razlike u temperaturi uzrokuju temperaturna naprezanja, a posljedica mogu biti pukotine ili lom po čitavom presjeku komada. Dopuštena brzina zagrijavanja ovisi o složenosti odljevka. Za složene odljevke kakovi su napr. blokovi motora, s tankim i debelim stijenkama brzina zagrijavanja treba biti napr. 10 - 15 oC/h što će zahtijevati vrlo dugo vrijeme zagrijavanja na 600 oC (39 h). Svakako bi za komplicirane odljevke brzina zagrijavanja trebala biti najviše 40 oC/h.
Predmet predgrijan na 600 oC se pokrije izolacijom, a samo se mjesto zavarivanja ostavi pristupačno, jer predmet isijava toplinu i zavarivač bi teško mogao raditi. Izolacija i štedi energiju, te se postiže brže zagrijavanje na temperaturu predgrijavanja. Nakon završetka zavarivanja predmet se treba što sporije hladiti; istom brzinom kao i pri zagrijavanju. Ako tijekom zavarivanja predmet nije bio jednoliko zagrijan, tada ga treba jednoliko zagrijati na temperaturu za popuštanje zaostalih napetosti, 650 oC, pa sporo hladiti, napr. 15 oC/h. Sporo hlađenje se može postići hlađenjem u peći, ako je masa predmeta i peći dovoljno velika. Za predmete, koji nisu kompliciranog oblika (rebra za ukrućenja, tanke i debele stijenke na istom predmetu) i hlađenje kao i zagrijavanje mogu biti znatno brži.
Ako je odljevak jednostavnog oblika i kontinuiranog presjeka (napr. cijev), tada se može samo lokalno zagrijati mjesto zavarivanja ili navarivanja, jer će biti omogućeno istezanje i stezanje pri zagrijavanju, zavarivanju i hlađenju. U ovom slučaju je moguće odljevak predgrijati samo lokalno, po opsegu, pa se ovakav postupak zavarivanja naziva u "polu toplom stanju"
U toplom stanju se može zavarivati elektrolučnim ili plinskim postupkom zavarivanja.
Dodatni materijal za zavarivanje u toplom ili polutoplom stanju je također sivi lijev sastava (%): 3.0-3.6 C, preko 3.0 Si, 0.5 - 0.8 Mn, najviše 0.6 P, najviše 0.1 S.
Može se uočiti visok sadržaj Si u odnosu na osnovni materijal, koji treba osigurati potpuno izlučivanje grafita u zoni taljenja. Debljina šipki dodatnog materijala je 4-12mm, a za elektrolučno zavarivanje i do 20 mm. Presjek je okrugli, kvadratni, pravokutni ili trapezni. Šipke su pune ili imaju žlijebove s topiteljima, koji olakšavaju prečišćavanje kupke ili stabiliziraju električni luk kod elektrolučnog zavarivanja.
Iste šipke se u principu mogu koristiti i za plinsko i elektrolučno zavarivanje. Jakost struje kod elektrolučnog zavarivanja se kreće pd 180 A za šipku-elektrodu 4 mm promjera, pa do 1000 - 1500 A za promjer 20 mm. Veličine sapnica (dizni) za plinsko zavarivanje se kreće od malih do najvećih za najdeblje šipke. REL zavarivanje se može provoditi i ugljenim elektrodama uz dodatni materijal-šipke.
Poznata je i primjena elektrodnih žica s jezgrom za automatsko i poluautomatsko zavarivanje i navarivanje SL u zaštiti CO2. Sastav depozita se može postići po želji.
Toplo zavarivanje uz visoko predgrijavanje, kada SL može izdržati deformacije omogućava postizanje kvalitetnog homogenog spoja, bez pukotina. Također, sporo hlađenje kupke, a kasnije zavara skupa s odljevkom rezultirat će u kvalitetnom zavarenom spoju bez pukotina.
Hladno zavarivanje
Vrlo često nije moguće iz raznih razloga zavarivati SL u toplom stanju: velik predmet, fino obrađene površine s tolerancijama, veliki troškovi..., pa se zavarivanje vrši u hladnom stanju i to samo REL postupkom zavarivanja.
Dodatni materijal - elektrode za hladno zavarivanje SL su bitno različite od sastava SL. Koriste se ove vrste:
1. Obična nelegirana elektroda bazična, kisela...
2. CrNi visolegirana
3. Monel (67 % Ni, 33 % Cu)
4. Ni
5. Fero-nikl (50 % Ni, 50 % Fe)
Za postizanje nepropusnih zavarenih spojeva preporučavaju se različite izvedbe prema slici 2. Monel, Ni i CrNi elektrode su skupe, pa se nastoje koristiti jeftine nelegirane elektrode gdje god je to moguće.

Sl. 2 Primjeri različitih izvedbi korišćenja dodatnog materijala pri hladnom zavarivanju SL.
Kod hladnog zavarivanja treba osigurati da predmet ostane što hladniji i da se ne nagomilavaju zaostale napetosti. Zato se preporučavaju napr. kratki zavari 15-20 mm za monel elektrode i 40-60 mm za obične nelegirane elektrode. Time se ujedno može udovoljiti zahtjevu da nakon ohlađivanja dijela zavara temperatura mjesta na kojem se nastavlja zavar ne treba biti viša od 70 oC. Jednostavna kontrola ove temperature je držanje ruke na mjestu kontrole. Ruka može izdržati još tu temperaturu. Da se izbjegnu visoka zaostala naprezanja i loklno zagrijavanje treba zavarivati kratke zavare, primjenjivati rakov korak, zavarivanje na preskok i mijenjati mjesto zavarivanja.
Za smanjenje sila stezanja preporučuje se primjena čekićanja zavara (sl. 3).

Sl. 3. Čekićanjem se smanjuju sile stezanja i smanjuje vjerojatnost pojave pukotina.
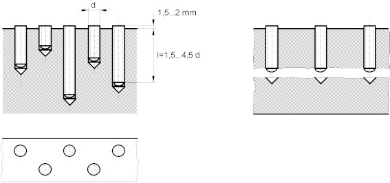
Za prijenos mehaničkih sila preporuča se na spojevima predvidjeti rupe s navojima u koje se uvrću vijci (sl. 4). Zavarivanjem preko vijaka se postiže međusobna mehanička veza. Ako su se pojavile pukotine u ZT ili u ZUT, tada će sile prenositi spoj vijaka sa zavarom. Pojačanje zavara SL se može izvesti i prema slici 5. slika 6 pokazuje slijed navarivanja šupljine na odljevku iz SL.

Slika 4. Priprema žlijeba za zavarivanje SL. Za veće debljine se mogu ugraditi zatični vijci. Rupe s navojima treba bušiti na različite debljine da se smanji opasnost od loma. Ako su rupe iste dubine postoji opasnost loma.

Slika 5. Čelična mehanička pojačanja na SL

Sl. 6. Slijed navarivanja šupljine na odljevku iz SL
Povratak na početnu stranicu - povratak na popis pitanja iz Tehnologije zavarivanja - popis pitanja iz Zavarivanja !!